Véhicule à propulsion humaine
Un véhicule à propulsion humaine ou VPH est un véhicule mû par la force musculaire humaine. Les véhicules à propulsion humaine peuvent être terrestres, nautiques, aériens, ou même subaquatiques. L'utilisation de la propulsion humaine combinée à un véhicule a permis de développer un mode de transport en plein essor au niveau international.

Historique
Les premières formes de véhicules terrestres à propulsion humaine peuvent être reliées à l'apparition de la roue plusieurs millénaires avant notre ère[1]. Les chariots de transport sont encore utilisés aujourd'hui, plus répandus sous forme de diables ou de brouettes. Sur l'eau, les pirogues ont montré très vite leurs qualités pour le transport et pour les voyages de découverte du monde. Dans l'antiquité, les galères phocéennes comme le pentécontère ont démontré leur efficacité dans le transport maritime et militaire. Les véhicules aéronautiques apparaissent à la fin du XIXe siècle et sont alors essentiellement des programmes de recherches scientifiques permettant un travail de réflexion et d'utilisation des faibles puissances.
La propulsion animale a souvent été oubliée dans l'histoire prémotorisée de la traction ou propulsion ou de la source d'énergie mécannique.
La draisienne 1818-1820, puis le vélocipède ou cheval mécanique et le grand bi 1865-1880 puis la bicyclette de sécurité[2] à partir de 1885, connaitront un succès grandissant. La première moitié du XXe siècle verra une diffusion massive de la bicyclette.
Créés dans les années 1930 en France, autour de Charles Mochet et de ses vélocars et vélo-vélocar, les vélos couchés réapparaissent dans les années 1970 aux États-Unis dans la période des crises pétrolières. Les recherches effectuées à cette période par les universités américaines montrent que les vélos couchés munis d'un carénage aérodynamique permettent d'atteindre des vitesses comparables aux automobiles (130,6 km/h sur le plat en 2002) et largement supérieures à celle des bicyclettes traditionnelles. Cependant, à cause d'un règlement technique très rigide qui interdit les modifications radicales apportées au vélo, l'Union cycliste internationale ne valide pas ces nouveaux records. L'Association internationale des véhicules à propulsion humaine (en) (IHPVA, International Human Powered Vehicle Association) est créée en 1976 pour répondre à ce besoin. Le terme de « véhicule à propulsion humaine » est alors utilisé pour permettre l'emploi de toutes les formes de vélo. Ainsi, les VPH regroupent aussi bien les vélos couchés, les tricycles, les vélos rameurs, les tandems, etc.
À partir des années 1980 aux Pays-Bas et au Danemark, les VPH apparaissent en Europe sous la forme du vélo couché et de la vélomobile comme moyen d'alternative écologique à la voiture.
Infrastructures
En 2018 un rapport de R. Cochard, secrétaire général de la Chambre syndicale nationale du cycle et du motocycle, montre la progression des infrastructures en Europe et les besoins encore nécessaires au développement du mode de transport le plus utilisé : le vélo[3].
Dans le domaine maritime et fluvial, le développement économique du VHP s'est adapté aux plans d'eau.
De nombreuses voies de chemin de fer désaffectées sont progressivement transformées en voies vertes pour les cycles[4].
Voie verte.
Intérêts économiques
En 2018, Les villes de France investissent de plus en plus dans les aménagements cyclables et y sont encouragées par l'État[5].
Au niveau européen, les études font état de la rentabilité, pour les municipalités, des investissements dans les infrastructures cyclables[6].
La ville de Nice annonce le 12 octobre 2018 un plan vélo pour 2020 avec pour objectif de supprimer 800 bus, mettre à disposition les voies de bus pour les VHP et investir 500 000 euros par an dans de nouvelles voies de circulations réservées aux VHP[7].
Les études[Lesquelles ?], en 2018, montrent un réel intérêt, pour les villes, des investissements dans les infrastructures et l'accueil des touristes pratiquant le VPH. L'économie locale autour des voies vertes se développe (artisanat, gastronomie, excursions, pratique de la nature[8]).
La Caisse des Dépôts estime les retombées possibles à 30 000 euros par kilomètre et par an[9].
Le vélo est un des modes de transport les plus développés au monde. Le GRACQ (Groupe de recherche et d'action des cyclistes quotidiens) relate d'une étude américaine de l'Université Johns Hopkins (Baltimore) en 2016 un nombre de plus de 580 millions de vélos dans le monde[10]. Il reste difficile d'estimer le nombre de vélo dans le monde, d'autres études annoncent 800 millions en 2015 et estiment probablement plus de deux milliards de vélos dans le monde[11].
Cyclotouristes
Intérêts écologiques
Certaines grandes villes européennes ont montré en 2018 l'efficacité des investissements réalisés dans le domaine de l'écomobilité. Copenhague et Amsterdam affichent des records avec 41 % de la population se déplaçant quotidiennement à vélo[12].
Types de propulsion
- Engins où la force humaine est appliquée directement, sans utiliser un propulseur : patinette, draisienne, chaise à porteurs. Certains ne requièrent une propulsion que pour s'élancer, avant d'évoluer grâce aux courants d'air ou d'eau, comme les caisses à savon, le ski, le raft, le parapente ou le deltaplane
- Engins où la force humaine utilise directement un propulseur, sans passer par une transmission : le grand bi, toute embarcation à pagaie ou avirons comme le canoë-kayak. Le mouvement du rameur exploite la force des bras (éventuellement aussi celle des jambes et du reste du corps).
- Engins disposant d'un propulseur mécanique (roue, hélice) entraîné par une transmission (pédalier, chaîne) : vélo et tous engins à pédales. Ces engins utilisent en général la force musculaire des membres inférieurs humains convertie en mouvement par un pédalier et (en général) une chaîne.
Grandeurs technologiques
L'énergie que peut produire un humain est très limitée. Pour déterminer la puissance, plusieurs éléments sont à prendre en compte comme la résistance au frottement (exemple : roue du vélo au sol), la résistance à l'air ou à l'eau (aérodynamique ou hydrodynamique ou les deux), et la résistance à la gravité[13].
Alimentation, énergie, rendement, dimensionnement
L'alimentation de l'être humain (le fait qu'il se nourrisse) lui permet d'accumuler sous diverses formes dans son corps une énergie qui pourra être transformée au besoin en énergie musculaire par l'intermédiaire des muscles. Cependant, une partie seulement de cette énergie musculaire va être utilisée pour la propulsion. Ce constat conduit au concept de rendement.
Dans le processus de transformation de l'énergie stockée dans le corps en énergie musculaire interviennent plusieurs paramètres extérieurs (température, humidité, ensoleillement, altitude) ainsi que des paramètres "internes" tels que l'état psychologique ou des paramètres propres à l'ergonomie de position du véhicule[14]. De même, la réflexion (travail du cerveau) et le fait de parler consomment beaucoup d'énergie.. Quelles que soient ces difficultés pratiques dans la production de l'énergie, la limite de base est l'énergie maximale que peut produire le muscle propulseur. La consommation en oxygène est un outil pour mesurer l'énergie dépensée par une personne (la quantité d’oxygène brulé par les fibres musculaires étant liée à l'énergie produite effectivement, du moins pour une personne dans un état de forme donné). La PAM (Puissance Aérobie Maximale, VO2max) est ainsi obtenue lors d'un test d'effort par pédalage (à noter que cette PAM ne prend pas en compte les paramètres extérieurs, la parole ou l'état psychologique : le dépassement de soi).
Puissance humaine
Un ordre de grandeur de puissance de l'humain est d'environ 200 watts pour un effort de pédalage constant. Cet ordre de grandeur peut cependant atteindre 900 watts lors d'un effort instantané de quelques secondes.
Pour les propulsions par pédalage, les scientifiques semblent s'accorder sur une puissance moyenne pour un cycliste entrainé de 200 watt en endurance[15].
La puissance que peut fournir un humain bien entraîné dépend en effet beaucoup de la durée de son effort : Si un athlète bien entraîné peut fournir 736 watts (1 ch ou cheval-vapeur) pendant une demi minute, pour un effort de 5 minutes, on ne peut attendre de lui que 400 watts. Les constructeurs d'avion à propulsion humaine tablent par exemple sur une puissance au décollage de 300 watts et 200 à 250 watts pour le vol en palier[16]. Dans le cyclisme professionnel, le seuil de puissance suspect en montée en col est de 410 watts[17].
Ce chiffre de 200 W donne une première référence de puissance disponible pour le véhicule à construire. En compétition, cependant, le véhicule peut aussi être construit autour de la puissance maximale que peut fournir le pilote pendant une durée plus courte.
Aérodynamique et hydrodynamique
Les véhicules se déplaçant dans l'air (à l'écart du sol) et en eau profonde obtiennent de meilleures performances en adoptant, pour leur fuselage (leur habitacle), la forme de corps de moindre traînée[18][source insuffisante].
Rendement, dimensionnement
Afin d'établir des comparaisons en matière de rendement des mécanismes propulseurs, le nouveau sous-marin Omer 11 dispose, par exemple, de trois systèmes de propulsions différents interchangeables, ce qui permet de juger de l'efficacité d'un système de propulsion tout en conservant le même pilote (sa puissance propre) et la même forme hydrodynamique. De tels systèmes permettront d'établir des comparatifs et de décider des axes de recherches à poursuivre sur les systèmes propulsifs[19].
Biomimétique
La biomimétique et bioinspiration sont de plus en plus utilisées par la recherche sur les VPH afin d'optimiser leur rendement de conversion.
Festivités
L'intérêt des citoyens pour ce mode de transport est attesté par l'organisation de nombreuses festivités, qu'elles soient généralistes comme le célèbre Burning Man où la ville éphémère n'accepte que la présence de VPH, ou lors de courses folles comme les courses de caisses à savon[20]. En France Gérard Feldzer met en avant les VPH lors des Fêtes des transports, notamment au Grand Palais de Paris en 2005, avec la présence de trois ballons à propulsion musculaire[21]. Les World Naked Nude Bike Ride (manifestations internationales cyclo-nudistes) sont présentes dans de nombreux pays ; c'est une forme originale de militantisme utilisant les modes de transport respectueux de notre environnement.
Dans la culture
La chanson internationale mettra à l'honneur la bicyclette avec en 1978 Freddie Mercury qui pour illustrer la pochette du single Bicycle Race, proposera une course de vélo avec 65 femmes nues[22].
Yves Montand interprète la célèbre chanson La Bicyclette sortie en 1968 à l'Olympia. En 1947, Bourvil jouait déjà des mots coureur cycliste et de jupon dans la chanson À bicyclette.
La scène culte du film E.T., l'extra-terrestre où Elliott s'élève dans les airs avec à son bord le plus célèbre des extra-terrestres reste dans toutes les mémoires. Jour de fête par Jacques Tati, acteur réalisateur, est un road movie à vélo. Dans La vie est belle, Roberto Benigni utilise le vélo comme mode de transport pour toute la famille.
Le Petit Baigneur, film de Robert Dhéry illustre le plaisir des hommes à innover, avec trois scènes amusantes : celle de Louis de Funès et sa combinaison kayak, Monsieur le Curé à bord de son hydrocycle et la barque à roue à aubes actionnée manuellement.
Pablo Picasso, Fernand Léger, Bernard Buffet, Marc Chagall, Léonard de Vinci : nombreux sont les artistes à avoir composé des tableaux mettant en avant le vélo, les rameurs, galères[réf. nécessaire]. Au XXe siècle, des œuvres monumentales apparaissent sur les routes, comme la sculpture du Tour de France de Jean-Bernard Métais dans les Pyrénées[23].
La bande dessinée met à l'honneur et souvent sous forme humoristique les VPH. René Goscinny et Albert Uderzo ont créé un mode de transport unique : le bouclier qui porte le chef Abraracourcix. Léonard et son disciple, de Turk et Bob de Groot, s'essayeront à de nombreuses et diverses inventions pour se déplacer en propulsion humaine, notamment dans l'album Génie mobile.
Le cirque est un grand amateur de VPH, les artistes utilisent les monocycles, vélo pour des démonstrations essentiellement d'équilibre sur piste ou sur fil de fer. L'artiste internationale Jessica Arpin présente un show avec un vélo[24].
Tableau relief en bois illustrant une draisienne équipée d'un ballon.
Abraracourcix sur son bouclier.
Zhang Fan du cirque de Chine.
Art de vivre
Le véhicule à propulsion humaine semble, au vu de diverses études[Lesquelles ?], être un vecteur de bonheur, de bonne humeur, de bonne santé[25]. Seule l'image des galères à rames évoque encore dans la mémoire collective la douleur du rameur. L'image que communiquent les véhicules à propulsion humaine est associée au plaisir, à l'écologie, au bonheur, au respect de la société, à l'entraide, au temps qui passe[26].
Stéphane Rousson aime à donner comme réponse aux questions des journalistes sur la vitesse des vols musculaires : « Je navigue à la vitesse de contemplation ; de quoi donner du fil à retordre à tous les mathématiciens[réf. nécessaire]. »
Claude Marthaler aime à faire partager ses aventures autour du monde dans ses récits, films et conférences. Aurélie Gonet voyageuse à vélo, parcourt le monde en prenant le temps de faire partager son aventure au travers des rencontres[27].
En 1970 le Designer Pierre Colleu, connu pour sa maison bioclimatique en forme d'escargot, conçoit un véhicule qui sera exposé lors d'une exposition itinérante en France sur les VPH. Son véhicule est équipé d'un système similaire à celui des trottinettes, par action de pousser sur les deux plateaux avants, la direction est assurée par un palonnier au niveau des accoudoirs.
En 2020, lors de la pandémie de Covid-19, de nombreuses municipalités investissent dans des pistes cyclables temporaires ou pérennes[28],[29].
Claude Marthaler
Le véhicule de Pierre Colleu
Vélocipédomanie
Politique
Le véhicule à propulsion humaine apparaît de plus en plus comme un outil, un vecteur médiatique en vue d'action devant les gouvernements en place. Dans le cadre de la crise des Gilets Jaunes en France, Franck Delestre entame un Antibes-Paris avec son vélo cargo pour parcourir en grand nombre de ronds points jaunes de France[30]. Une famille de Haute-Savoie utilisera leur vélo pour monter sur Paris[31]. À Saint-Brieuc en Bretagne, les Gilets Jaunes ont manifesté pour demander la promotion des moyens de transport de type VPH plutôt que la baisse du prix des carburants[32].
En France, en 2018, le Ministère de la transition écologique lance le Plan vélo visant à développer[Comment ?] les aménagements cyclables et la « culture du vélo »[33],[34].
Tendance et avenir
La bicyclette, comme les vélomobiles et autres véhicules à propulsion humaine, voit sa technologie de propulsion gagnée par l'hybride[35], dispositif qui couple à la propulsion musculaire une assistance électrique. Le marché de l'hybride montre ainsi un dynamisme important, avec en 2017 plus de 255 000 modèles électriques vendus pour 2 782 000 vélos[36].
Engins terrestres
Par pédalage
Nous pouvons aussi regrouper un grand ensemble de VPH à cycles sous le terme de Vélocipèdes.
Usage pour loisirs, déplacement et sport
- En 1861, Pierre Michaux va rajouter des manivelles à la draisienne pour créer la Michaudine, une étape cruciale dans le développement de la bicyclette.
- Bicyclette et vélo en libre service
- vélo elliptique de route
- Vélo couché et vélo torpille.
- Vélorail
- Vélomobile
- Tricycle
- Tricycle couché
- Quadricycle assez commun chez les pompiers à vélo.
- Rosalie (cycle)
- Vélocar
- Vélomobile à pédalage constant
- Voiture à pédales
- Le monocycle à pédales existe sous deux formes distinctes. Le cycliste est assis au-dessus de la roue et dans ce cas le pédalier est sur la roue, forme de monocycle la plus courante, souvent utilisée dans le monde du cirque, la fédération internationale d'Unicycle propose divers championnats du monde avec diverses disciplines. Une autre version à cavalier intérieur, le cycliste est assis dans une roue de grand diamètre comme le monocycle de Rousseau, Marseille 1869.
- Le Halfbike crée en Bulgarie par Martin Angelov et Mihail Klenov répond à un besoin d'allier le cycle à la course à pied[37]. Le premier prototype fut construit en 2012. C'est un tricycle sans selle équipé d'un pédalier sur la roue avant.
- Le Trikke (en) est un véhicule sans chaîne et sans pédales, sur trois roues.
Un monocycle.
Un vélo couché.
Un vélo acrobatique.
Un tricycle.
Un trikke.
Un quadricycle.
Un monocycle à cavalier intérieur (Londres, 1870).
La michaudine et son inventeur, Ernest Michaux.
Le vélo Torpille d'Étienne Bunau-Varilla.
Propulsion combinée
La propulsion combinée a pour objectif de réunir deux modes de propulsion sur un même véhicule. Le Vélo-hélice ou Aviette combine le vélo et la propulsion par hélice. Il existe de nombreuses versions dont les premières date de autour de 1913. M.Bernhard roule le 14 décembre 1913 au Vel d'hiv avec une Aviette. Le Palais des Sports organise en 1913 une course d'aviettes avec semble-t-il uniquement 2 participants : M.Bernhard et Bégnez[38]. La course est financée par Peugeot[39].
En 1922, Morris Abbins effectue une démonstration au vélodrome Buffalo de Montrouge avec son vélo couché en position allongé face avant équipé d'une hélice propulsive.
Certains modèles équipés avec des ailes sustentatrices comme le Métalloplan de Marius Mazoyer, ou l'appareil d'Emile Percevaut seront présentés au salon de l'aéronautique en 1913. De nombreux avions à pédales nommés aussi Aviettes feront leur apparition grâce au concours du Parc des Princes. (Voir section avions).
Usage pour transport de marchandises, biens, courriers
Les grandes enseignes du transport de marchandises s'orientent de plus en plus vers l'écomobilité dans le transport urbain de proximité[40]. Les facteurs français ont été équipés de vélos dès 1893[41].
La Poste Française est, en 2018, à la tête de la plus grande flotte mondiale de vélos avec assistance électrique[42] avec plus de 24 000 unités. Dans la plupart des pays du monde les facteurs sont équipés de vélo.
La ville de Paris a mis en place en 2007 des vélo-poubelles pour Paris Plage. D'autres villes, comme Mons en Belgique en 2013, on testé le ramassage des ordures ménagères à vélo[43]. La ville de Carouge en Suisse dispose d'une flotte de cyclotri[44].
Les Vélo cargos sont présents dans de nombreux métiers que ce soit pour le transport de marchandises, glacier ambulant, plombier, artisan du bâtiment... Les utilisateurs sont soit indépendants soit appartiennent à des plateformes de livraison[45].
Vélo cargo à Nice.
Tricycle de transport de marchandise.
Facteur à vélo du Jura.
Vélo de facteur à Villeurbanne.
Poste danoise.
Bicyclette de la Poste allemande.
Vélo cargo de plombier à Annecy.
Usage pour transport de personnes
Le transport de personnes par VPH se développe progressivement en Europe[46]. En 2017 les premières manifestations publique de la profession apparaissent en France pour demander à légiférer sur la pratique commerciale des vélos-taxis[47].
- Rickshaw
- Cyclo-pousse
- Vélo-taxi
- Pédicab
Usage par les services de secours, de sureté ou surveillance
- Vélo de la police
- Vélo ambulance
- Les vélos ont été très utilisés en temps de guerre surtout durant la seconde guerre mondiale[48]. L' infanterie cycliste désigne les soldats qui manœuvrent avec une bicyclette, notamment en Suisse avec les Vélos de l'Armée suisse.
- Le corps des gendarmes à vélo est apparu en 1898 en Île-de-France[49]. En 2018 la gendarmerie nationale patrouille avec des VTT avec assistance électrique[50]. Ce moyen de transport facilite la surveillance et la rapidité d'intervention en zone urbaine[51].
- Vélo de pompier, que l'on trouve dans plusieurs pays. La France s'est équipée en 1890 d'une équipe d'intervention à Marseille. Portland (Oregon, États-Unis) s'équipe de nouveaux vélo [52]. Il exista des particularités comme le quadricycle comme en Suisse ou en Australie[53].
- Les gardes de l'Office National de Forêts disposent selon leur grade et usage de velo[54].
Vélo Ambulance Aéroport London Heathrow
25e regiment de bicyclettes
Police à vélo
Vélo de Pompier Prague
Usage en Agriculture
L'aggrozouk[55] ou Bicitractor est un outil développé pour les petites exploitations agricoles par le collectif Farming Soul ; plusieurs appareils sont en fabrication en 2015[56]. Dans le Massachusetts, Tim Cook met au point le Culticyle[57]. Il existe plusieurs types de tondeuses à gazon-vélos, principalement des tondeuses manuelles montées sur des vélos[58].
Utilisation des VPH dans la vie courante
- Pousse-pousse
- Les poussettes existent sous diverses formes, que ce soit en quadricycle ou en tricycle ; elles sont pliables ou non.
- Landau
- Chariot de supermarché
- Brouette
- Vinaigrette
- Brancard
- Charrette
- Diable
- caddie de course
- Valise à roulette
- Conteneurs-poubelles sur roues
Conteneur poubelle.
Poussettes en libre service.
Landau à quatre roues.
Chariot de supermarché.
Caddie de gare ou aérogare pour transport de valises.
Caddie de courses.
Caddie de golf.
Valise à roulettes.
Brouette.
Autres types de véhicules
- Draisienne
- Trottinette
- La patinette de cross est souvent associée à son utilisation avec un chien.

.JPG.webp)
Patinette de cross.
Usage en agriculture
En agriculture l'utilisation de la charrette est assez courante, en 2015 de nouveaux appareils se développent pour le ramassage de fruits pour les petites exploitations agricoles désireuses de participer au développement durable. La société Huemer Obsterntetechnick propose différents collecteurs de fruits par poussage selon les utilisations[59].
Par portage
Ce mode de transport, comme le palanquin ou la chaise à porteurs, qui date de plus de 2 000 ans, était essentiellement réservé à la noblesse. On le retrouve dans de nombreux pays. Il semble que cette pratique disparaisse après le XIXe siècle. L'usage du portage a quand-même été conservé pour le transport d'urgence. Les civières et brancards sont un outil indispensable au milieu hospitalier. L'urgence de montage mis au point les civières de relevage à lames ou plan dur pour permettre un transport en toute circonstance de la victime.
Par action manuelle
- Le Fauteuil roulant essentiellement utilisé par les handicapés moteur des membres inférieurs, il sait aussi se faire remarquer dans le monde du sport de haut niveau avec notamment les compétitions présentes aux Jeux Paralympiques. Dans les sports de glisse l'américain Aaron Fotheringham réalise plusieurs exploits et devient une référence mondiale de la glisse sur fauteuil en passant en 2010 un backflip[60].
- Le monocycle de Brescia datant du XVIIIe siècle actionné par manivelle[61].
- Le handbike[62].
- Un brevet du 30 janvier 1900 décrit un vélo équipé d'une propulsion reprenant le principe mécanique de l'aviron, ou le pilote actionne à l'aide des bras une mécanique qui va entrainer la roue arrière inventé par L.S. Burbank Bicycle. En Allemagne ce même principe sera développé au XXIe siècle par l'ingénieur Michael Schmidtler et met au point le Rowcycle[63].
Monocycle de Brescia
Fauteuil roulant de sport.
Aaron Fotheringham aux Jeux paralympiques de Rio 2016.
Autres
Le chariot skate[64] comme le Takypod utilisent le mouvement du patineur combiné au mouvement du pédaleur.
Le Dreamslide,inventé par Jean-marc Gobillard, vélo debout sans selle, ayant la particularité de reproduire le mouvement de la marche. Le Dreamslide fut créé en France en 2010, 300 exemplaires furent vendus. L'objectif de ce véhicule est d'associer la marche, considérée comme étant la plus performante, à un cycle, au rendement efficace[65].
Quelques Rares projets d'ascenseur ou élévateur comme celui d'Ethan Schlussler qui modifia un vélo pour accéder à sa maison dans les arbres[66].
Le Strandbeest Bike, conçu par Blaine Elliot à Santa Barbara en Californie, il est équipé de patte au lieu de la roue arrière. Le mouvement kinétique est inspiré du travail de l'artiste Théo Jansen[67].
Le Velofeet est une combinaison entre le vélo et la marche à pied inventée par le physicien Manual Alvarez-Icaza, le mode de déplacement permet de reste assis en marchant[68].
Dreamslide.
Mouvement de principe des pattes du Strandbeest Bike.
Le Tapypod de Edvard Petrini roller skates pédalé.
Sur rail
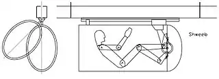
L'aventure de la propulsion sur rail connue son heure de gloire avec les draisines pour le chemin de fer et berlines dans les mines, des projets sportifs comme le Velotrain existent pour donner une dimension sportive à la draisine[69]. De nombreuses voies désaffectées sont utilisées par les amateurs de draisine, en 2018 le besoin de fournir plus de voies vertes incite à transformer ces voies de chemin de fer désaffectées pour le besoin du transport par cycles nettement plus performant et répandu. En 2018, il existe de nombreux projets de parc de loisirs utilisant les luges sur rails ou glissières qui existent notamment en station de ski. Les nacelles suspendues sur monorail proposent une alternative au transport urbain comme le projet Shweeb[70].
Draisine à bras (en Australie dans les années 1920).
Draisine à pédalier, aussi nommée cyclo-draisine.
Luge sur rail.
Shweeb.
Sur neige ou glace
Sur neige, sur terrain plat, la force musculaire doit être mise en œuvre tout au long du parcours (par exemple, dans la pratique du ski de fond). Mais, sur une pente descendante (ski alpin, luges, etc.), la force humaine est principalement déployée pour donner une forte impulsion au départ ; pour maintenir ensuite l'allure du véhicule les efforts sont souvent moindres, car largement secondés par la force de gravité.
- Le vélocipède à patin à glace élaboré par Jonas Schmid en Amérique du Nord permet de se déplacer sur neige ou glace grâce à une roue arrière équipée de pointes et de patins ou ski à l'avant[71]. Il existe aussi une sorte de Michaudine avec deux jeux de patins en guise de roue arrière portant le nom de traineau vélocipède ou bicycle à glace datant de 1870.
- Ski
- Ski de fond
- Télémark
- Pulka
- Traîneau
- Luge, skeleton, bobsleigh…
- Le babysnow permet d'apprendre aux plus jeunes (enfants de un à quatre ans) la sensation de glisse[72].
- Le fat bike, vélo équipé de pneus épais permettant la pratique sur la neige.
- Vélos équipés d'une chenille à la place de la roue arrière et d'un ski à l'avant, quelques rares fabricants proposent des kits.
Ski de fond.
Ski.
Télémark.
Pulka.
Fat bike.
Babysnow.
Cycle sur glace.
Manèges
Pour le bonheur des enfants certains manèges sont directement actionnés par les enfants eux-mêmes en pédalant ou par un pédaleur externe[73], la ville de Brive lance un projet de manège[74]. Cergy Pontoise ouvre en 2018 une attraction aérienne, le Zippy Bike, qui procure des sensations au-dessus du vide avec des vélos suspendus sur câbles[75]. Au Japon, dans le parc à Thème de Kurashiko, le Skycycle vous permet de vous balader sur un rail avec des nacelles à pédales jusqu'à 16 mètres de haut[76]. En Italie dans les dolomites, situé à Ai Pioppi, il existe un parc d'attraction dédié à la propulsion humaine où tous les manèges conçu par le restaurateur du parc lui-même ont pour caractéristiques de devoir être animés par la force musculaire[77].
Engins aquatiques
L'exploration maritime a de tout temps utilisé la propulsion humaine dans ses déplacements, avant l'invention de la voile puis des motorisations. Autour du monde et selon les climats, les embarcations se sont adaptées aux plans d'eau, à la houle, au besoin (chasse, pêche, transport). De nos jours, les embarcations utilisant la propulsion humaine sont principalement destinées au loisir, bien que les rames restent présentes à bord des navires, dans les annexes de secours.
Dans le domaine sportif, la tendance est d'aller de plus en plus vite sur l'eau, les études sur les foils permettant de développer des embarcations de plus en plus rapides, tels les hydroptères (voir ci-dessous).
Navires
Les navires à rames sont probablement un des modes de transports les plus efficaces que connut la propulsion humaine avec les galères.
Navires historiques
- La barque solaire de khéops dotés d'avirons.
- La galère
- La Réale, (la Royale) Galère de la marine française avec ces 32 paires de rames.
- le cycloscaphe[78].

La Réale 1694
Bateaux océaniques
Il existe de nombreuses embarcations océaniques de sport, utilisant comme mode de propulsion aussi bien les rames, pédales, avirons. Le britannique John Fairfax sera le premier homme à traverser un océan avec un bateau à rame en 1969 (Traversée Atlantique et 1972 (Pacifique), par la suite en France, Gérard d'Aboville sera à l'origine de ces grands défis océaniques.
Équipées de flotteurs, transmission par pédalage à roue à aubes, ou roues flottantes
Le Pedalo connu un succès commercial à partir des années 1960 et l'on dénombre aujourd'hui un très grand nombre de fabricants avec des modèles essentiellement biplace et plus.
- Bateau à pédales ou Pédalo
- Cyclomer[81].
- Water Velociped de Max Wenkel 1895
Équipées de flotteurs, transmission par pédalage et hélices sous-marines
Après les années 2000, de nombreux projets commerciaux voient le jour, dont certains s'orientent dans le domaine du luxe comme les Schiller ou Ceclo[82]. Monaco organise la seconde course de Water bike en 2018[83]. Des kits permettent de modifier un vélo de route pour l'adapter sur flotteurs[84]. Les vélos aquatiques sont plus propices à une utilisation personnelle, rares étant les modèles biplaces.
En 1927, René Savard traverse la Manche de Calais à Douvre et la réitère sans convoyeur le . Aimée Pfanner est la première femme à réaliser cette traversée le [85]. C'est la société Austral qui développe sa Nautillette[86].
- Waterbike, Vélo aquatiques ou Hydrocycle[87].
Équipées de flotteurs, transmission par pédalage et hélices aériennes
Équipées d'une propulsion manuelle
En 1988, Rémy Bricka traverse l'atlantique à bord de ses ski flottants, tirant derrière lui une embarcation de survie[90].
- Aviron,Kayak, Baidarka, Canoë
- Podoscaphe
- Paddle,Gondolys[91],
- Surf
- Pirogue, Va'a, Arawa
- Gondole
- Barque, barque catalane, pointu, raft, canot, baleinière, chaloupe, yole, annexe,
- les rameurs à pieds du lac Inle en Birmanie.
- les pirogues à perche au Mali...
Godilleur à Brest
Gondole Vénitienne
Paddle Stand up
Aviron
Kayak
Canoë
Équipées d'une propulsion par nageoires ou ailettes, par battements ou oscillations
- Le Treddlecat, catamaran créé par le designer New zealandais Ken Kingsbury introduit la propulsion par battement d'hydrofoil verticaux[92]. La marque Hobie cat reprendra le concept pour développer avec succès son kayak équipé du système mirage drive permettant la pratique du kayak main libre[93]. Le système est depuis utilisé par le Paddle et certains sous-marin de course.
- Barque équipée d'une propulsion par dérive à oscillations, le Flapping foil propulsion de Leopold Schoeller.
- Le Thistle de Harry Bryan bateau à ailettes[94].
- Le français Pierre Chatelain développe l'Ondulo, une petite embarcation à nageoire[95]. L'ondulo sera presenté par deux fois au Salon Nautique de Paris [96].
Hydroptères
Les hydroptères sont des véhicules utilisant des foils pour se sustenter sur l'eau une fois la vitesse nécessaire au décollage atteinte. Dans leur version VPH, ces engins sont souvent équipés de flotteurs pour assurer une flottabilité à vitesse nulle ou lente[97]. Grâce à la réduction conséquente des frottements avec l'eau, ces véhicules atteignent de grandes vitesses, listées ci-dessous. Le championnat européen de 2006, à Wakersdorf en Allemagne, rassembla les participants sur une course de 10 km[réf. souhaitée].
Déplacement par impulsions
- Aquaskipper
- Pumpabike
- Trampofoil des Suédois Alexander Sahlin et Jens Österlung.
Propulsion par hélices
La propulsion par hélice peut se faire en milieu soit sous-marin, soit aérien. Ainsi du decavitator, qui effectua un record de vitesse en 1991 avec 18,5 kt. Les prototypes possèdent un ou plusieurs flotteurs. En France, des étudiants de l'université Savoie Mont Blanc mettent au point le prototype Jet-Cycle qui sera commercialisé[98].
Par nageoires, battements ou oscillations
- Wasserläufer, premier véhicule à sustentation et propulsion par hydrofoils à battement[99], conçu par l'ingénieur précurseur bavarois Julius Schuck en 1953. C'est probablement la première forme historique de sustentation-propulsion par foils. Les études menées par la recherche dans le domaine des sous-marins à propulsion humaine montrent l'efficacité du rendement de la propulsion par battement de foil[réf. nécessaire].
Cyclomer Paris 1932.
Funfoil.
Podoscaphe.
Gondoles.
Baleinière.
Pirogue.
Paddle.
Seacycle.
Hydrocycle à double hélice aérienne[100].
Kit pour Hydrocycle.
Water Velociped de Max Wenkel.
Engins sous-marins
Historiquement les premiers sous-marins ont été à propulsion musculaire ayant une vocation militaire, avec un système de propulsion par pédalage ou manivelle comme le Nautilus de Robert Fulton[101] ou le submersible à rame de Cornelis Drebbel et la célèbre Tortue de David Bushnell.
Les engins sous-marins ont pour vocation de faire travailler la recherche universitaire sur les programmes de résistance des matériaux, études hydrodynamiques, rendement mécanique, étude physiologique, études en biomécanique. En 2018 de plus en plus d'équipes se tournent vers les systèmes de propulsion à nageoires ou foils montrant leur efficacité en matière de rendement par rapport aux hélices traditionnelles.
Il existe un grand nombre de sous-marin à propulsion humaine utilisés lors des courses universitaires[102].
2 course biennales ont lieu aux États-Unis et en Angleterre. Quelques vaisseaux de la course se sont illustrés dans des films documentaires comme le Scubster[103],[104],[105] et Omer. (Diffusé dans l'émission Thalassa sur France 3).
Les objectifs de la recherche sont d'aboutir au travers de la propulsion musculaire, volontairement contraignante au niveau puissance, à des véhicules hybrides ou électriques performants. Ainsi il existe de rares programme civils ayant pour objectif de fournir un véhicule adapté à la recherche sous-marine (archéologie, défense, sécurité civile) tel que le Scubster[106], ou militaire comme les sous-marins humides.
Le Subo, Kayak sous-marin d'Olivier Feuillette a la particularité d'être étanche et d'utiliser une propulsion par une ailette à oscillation directionnelle[107].
L'équipe du Scubster menée par Stéphane Belgrand Rousson lors des 11e championnats du monde de sous-marin à propulsion musculaire.
La Tortue de David Bushnell.
Départ de course de sous-marins.
Le Nautilus de Robert Fulton.
Engins aériens
Les engins aériens à propulsion humaine poussent à leurs limites la recherche sur la résistance des matériaux, les études aérodynamiques et le rendement mécanique.
Article détaillé : Engins aériens à propulsion humaine (en)
Ornithoptères
Les ornithoptères font partie des premiers travaux que l'homme mène pour tenter de s'envoler, la légende d'Icare commence à devenir réalité avec les premiers dessins de Léonard de Vinci et sa célèbre vis aérienne. La biomimètique mène la recherche scientifique à se pencher sur l'efficacité des ailes battantes de grande envergure. Cependant, la force musculaire des bras humains s'avère vite insuffisante par rapport à la masse des engins, les matériaux du XIXe siècle étant encore trop lourds pour autoriser le vol. Certains inventeurs ont alors l'idée d'utiliser la force des jambes pour produire plus de puissance. En 1891, Otto Lilienthal effectue les premiers vols planés en s'élançant d'une butte, George R. White of Stoney Brook réalise un vol d'essai le à Long Island (New York, États-Unis).
- Lippisch d'Alexander Lippisch
- Bird de Byrn Bird
- HPOs d'Alan Stewart
- Pulcynamic 2
George R. White of Stoney Brook.
Edward Frost.
UTIAS Snowbird Canada.
Avions
Parmi les aéronefs les plus renommés :
Robert Peugeot organise à partir de 1912 les concours d'aviettes ayant pour but de faire décoller un vélo muni d'une hélice et d'ailes. Le premier concours est doté d'un prix pour le premier qui réussirait à décoller sur 10 mètres[108]. Il est ramené à 10 cm sur 1 mètre de longueur faute d'exploit en 1913, et il faudra attendre 1924 pour que Gabriel Poulain remporte un prix en remportant l'épreuve des 10 mètres d'envol[109].
- L'aviette de Maurice Hurel, l'un des fondateurs de l'Union pour la réalisation du vol athlétique ou minimotorisé (URVAM), il réussira un vol de 400 m en 1973 au Bourget.
- Gossamer Condor.
- Gossamer Albatross.
- Daedalus qui détient le record du monde de distance avec 119 kilomètres au-dessus de la mer (en 3 heures et 55 minutes).
- La France compte 6 aéronefs dont le dernier en activité, le Japon 25 aéronefs, le Royaume Uni 23, les États-Unis 32, la Russie 2, la Suisse 2, l'Afrique du Sud 1, l'Italie 5, l'Allemagne 8, la Chine 1, le Canada 2, l'Autriche 2, la Belgique 1, les Pays-Bas 2, la Nouvelle-Zélande 2, la Pologne 2, l'Écosse 1 et Singapour 1[réf. nécessaire].
Daedalus.
Gossamer Albatros II.
Gossamer Condor.
Aviette.
Ballon à pédales
- Le Zeppy 3, conçu et piloté par Stephane Rousson, le designer Minh-Lôc Truong et l'ingénieur Sébastien Gaume. Le ballon établira la vitesse de 13 nœuds en 2016 dans le cadre d'une émission de télévision en Angleterre pour Channel 4[110].
- Mlle Louise, conçu[111] et piloté par Stéphane Rousson qui effectue deux tentatives de la traversée de la Manche en 2008[112],[113],[114].
- Zeppy 2, conçu par Didier Costes et Jean-marc Geiser, piloté par Gérard Feldzer et Nicolas Hulot.
- Zeppy, conçu et piloté par Luc Geiser, le ballon est conservé au musée de l'Air et de l'Espace du Bourget.
- White Dwarf (dirigeable) (en)
- Parabike et Parabounce conçu par Stephen Meadows.
- Le Sky-cycle de Cromwell Dixon (en), Columbus , Ohio , USA ; autour de 1907, par la suite il fera une version motorisée de son ballon.
- En 1872, Dupuy de Lôme met au point son ballon à propulsion musculaire.
- 1899 de Konstantin Danilewsky.
- En 1878, Le ballon de Ritchell de Hartford (Connecticut, États-Unis).
Zeppy Piloté par Luc Geiser.
Zeppy 2 Piloté par Gérard Feldzer et Nicolas Hulot.
Dupuy de Lôme.
Le Mlle Louise lors de sa première série de vol à Rouen Boos le .
Zeppy 3 à Villefranche-sur-Mer en 2018.
Ballon à rames ou ailes battantes
- Embryo de Konstantin Danilewsky[115].
- Pilstrôm de Konstantin Danilewsky.
- Orichka de Konstantin Danilewsky.
- L'Aéroplume à ailes battantes, conçu et piloté par Jean-pierre David[116].
Aeroplume.
Hélicoptères
En 2018, il existe six machines de recherche universitaire, un hélicoptère japonais, quatre américains et un canadien qui a remporté le prix Sikorsky.
Les objectifs sont de travailler sur les programmes de recherches liés à la sustentation par faible puissance, recherche sur les hélices, résistance des matériaux.
Le Auckland Weekly News du 3 juin 1909 relate d'un projet de Sir George Grey, le sky cycle[117].
.
Hélicoptère Atlas.
Clip Hélicoptère Atlas.
Autres engins
Les frères Paul et Hansen Hoepner travaillent depuis 2017 sur un projet de véhicule amphibie pour traverser l'Alaska[118].
Naissance du transport vertical proposé et inventé par l'architecte Elena Larriba, qui crée le Vycle, un élévateur propulsé par pédalage pour répondre à un besoin inexistant[119].
Expérimentations
Le VPH est source d'expérimentations permettant des réflexions sur nos comportements ou celui de notre cerveau.
Le vélo à direction inversée est surprenant et oblige le cycliste à faire travailler son cerveau et l'éduquer pour arriver à contrôler le vélo[120]. Le Halfbike remet aussi en question l'éducation du cerveau à se libérer d'un apprentissage spécifique à la bicyclette et son équilibre. Le halfbike n'ayant pas de direction, celle-ci est assurée uniquement par le déplacement du centre de gravité du pilote. Les draisiennes pour enfants ont montré qu'il était possible d'éduquer l'enfant à pratiquer le vélo sans petites roues par apprentissage du cerveau, dans un premier temps, à l'équilibre de l'enfant sur la draisienne, l'apprentissage de la propulsion par pédalage se faisant ensuite plus facilement. Cette expérimentation est à l'origine du succès commercial des draisiennes pour enfants.
Modules de transport et stationnement
Les VHP étant dans la grande majorité des véhicules de mobilité pour courte distance, les moyens de transports (train, tram, voitures, etc.) adaptent pour le besoin des clients des modules permettant le transport ou le stationnement du VPH.
Exemple :
Compartiment pour vélo dans un train.
Stationnement de vélo.
Voir aussi
- Human-powered hydrofoil (en)
- Propulsion humaine
- Sous-marin à propulsion humaine
- Énergie primaire
- Randonnée à vélo
Liens externes
- France-HPV, l'association des vélos-couchés et de tous les VPH
- Véhicules à propulsion humaine idéaux
- IHPVA
- MVPH Machines volantes à propulsion humaine
- European submarine race
- International submarine race
Notes et références
- « De quand date l'invention de la roue ? », sur Futura (consulté le ).
- « Le retour de la bicyclette - Frédéric Héran - Éditions La Découverte voir p27 », sur www.editionsladecouverte.fr (consulté le )
- « Les pistes cyclables », Carfree, (lire en ligne, consulté le ).
- « AF3V », sur af3v.org (consulté le ).
- Ministère de la transition écologique et solidaire, « Rennes obtient la 4e place des villes cyclables », (consulté le ).
- « Infrastructures cyclables : très rentables pour une municipalité », Prendre soin de notre monde, (lire en ligne, consulté le ).
- « Plan vélo à Nice : des couloirs de bus vont devenir des pistes cyclables », sur France Bleu, (consulté le ).
- « L'influence cyclotourisme sur l'économie, La Loire à vélo en témoigne », Citycle, (lire en ligne, consulté le ).
- « https://www.banquedesterritoires.fr/en-pleine-expansion-le-cyclotourisme-fortement-accru-son-offre-en-2016 », sur Banque des territoires (consulté le ).
- Luc Goffinet, « Au moins 580 millions de vélos dans le monde », GRACQ, (lire en ligne, consulté le ).
- (en) Leszek J. Sibilski, « Cycling Is Everyone’s Business », People, Spaces, Deliberation, (lire en ligne, consulté le ).
- « Les trois enjeux de la mobilité durable », Les Échos (consulté le ).
- « Pourquoi calcule-t-on la puissance des coureurs en watts ? », Le Figaro, (consulté le ).
- « L'énergie du corps humain », sur explorateurs-energie.com (consulté le ).
- « Comprendre les watts - Vélo Québec », Vélo Québec, (lire en ligne, consulté le ).
- Colloque aéronautique Cachan 2016, , 606 p. (lire en ligne), p. 443
- « Pour tout comprendre sur le calcul des watts », Le Monde, (lire en ligne, consulté le ).
- Bernard de Go Mars, L'aérodynamique des corps d'Eiffel et leur évolution laminaire, , 208 p. (lire en ligne [PDF]).
- (en-GB) « European International Submarine Races - Winners of 2018 human-powered submarine races announced », sur subrace.eu (consulté le )
- « Red Bull Caisses à Savon 2017 », sur redbullcaissesasavon.fr (consulté le )
- « Passion Transports redonne au Grand Palais sa vocation initiale », sur essonne.fr, (consulté le )
- ANTHEVA, « QUEEN - BICYCLE RACE (1978) - QUEEN - ROCK-MY-WORLD.FR », QUEEN - ROCK-MY-WORLD.FR, (lire en ligne, consulté le )
- AC Grenoble, Le vélo dans l'art, (lire en ligne)
- « videos », sur jessicaarpin.com (consulté le )
- « Aller au travail à vélo et en transport, moins stressant que voiture », Citycle, (lire en ligne, consulté le ).
- « Challenge sportif, entraide et casse-croûte au bord de la route: une matinée au club de vélo de Bondoufle - Loisirs - Notre Temps », sur notretemps.com (consulté le ).
- Thibault Cealic, « Dijon-Pékin à vélo avec Aurélie : cinq mois après le départ, l'aventure continue ! », sur Geo.fr, (consulté le ).
- « Une carte des pistes cyclables temporaires et pérennes du Grand Paris », sur Service-public.fr (consulté le ).
- Jean-Baptiste Lasserre, « Les aménagements cyclables du déconfinement en France post Covid-19 », sur Citycle, (consulté le ).
- « VIDEO. Ce "gilet jaune" azuréen est parti d'Antibes ce jeudi pour rejoindre l'Elysée à vélo », sur Nice-Matin, (consulté le )
- « De la Haute-Savoie à Paris en vélo, le périple d'un gilet jaune et de ses 2 enfants pour rencontrer Emmanuel Macron », sur France 3 Auvergne-Rhône-Alpes (consulté le )
- « Quand les gilets jaunes manifestent... à vélo ! », sur Reporterre, le quotidien de l'écologie (consulté le )
- « Vélo et marche », sur Ministère de la Transition écologique (consulté le )
- « Coronavirus : un plan "vélo" à Nice et à Marseille pour limiter la voiture après le confinement », sur France 3 Provence-Alpes-Côte d'Azur (consulté le ).
- Camy Goo, « Découvrez PodRide, la voiture à pédales écologique ! », Mr Mondialisation, (lire en ligne, consulté le )
- « Les chiffres du marché du cycle 2017 », Cyclable, (lire en ligne, consulté le )
- (en-US) « Halfbike », sur Halfbike (consulté le ).
- « Course d'aviettes Palais des sports », L'ouest-Eclair Caen, .
- « Concours de l'Aviette », L'industrie Vélocipédique, , p. 355 (lire en ligne).
- « Les cargo bikes: recevoir sa livraison au pied de sa porte », Elles font du vélo, (lire en ligne, consulté le )
- Le facteur (lire en ligne), page 5
- « Carrières : facteur, un métier qui va vous surprendre », leparisien.fr, 2018-05-09cest15:27:26+02:00 (lire en ligne, consulté le )
- Florine Cuignet, « Mons teste le ramassage des poubelles à vélo », GRACQ, (lire en ligne, consulté le )
- « En Suisse, on ramasse les déchets à vélo », carfree.fr, (lire en ligne, consulté le )
- Julien Valnier, « Envie de devenir coursier à vélo? Voici notre comparatif des plateformes - 20 Minutes s'intéresse à l'économie collaborative », 20 minutes, (lire en ligne, consulté le )
- « Vélos-taxis: les clés du succès », Le Huffington Post, (lire en ligne, consulté le )
- « Paris : manifestation des vélos-taxis pour réclamer un cadre légal », France Bleu, (lire en ligne, consulté le ).
- « Le rôle oublié des vélos durant la Seconde Guerre mondiale », sur Catawiki (consulté le )
- « Premier gendarme à vélo, 1898 - Archives départementales des Yvelines », sur archives.yvelines.fr (consulté le )
- « en patrouille avec les gendarmes à vélo », sur ouest-france,
- « Lavaur. Patrouille avec les gendarmes en vélo », ladepeche.fr, (lire en ligne, consulté le )
- « Les pompiers à vélo », carfree.fr, (lire en ligne, consulté le )
- « Sapeurs-pompiers intervention à vélo 1870 - Notre Histoire », sur notrehistoire.ch (consulté le )
- Administrator, « Garde de l’Office National des Forêts », sur lafiliereequestre.chevaldefrance.com (consulté le )
- « Mathieu Grosche Designer Explorer_Bicitractor », sur mathieu grosche designer explorer (consulté le )
- « Pédaler pour cultiver sans polluer », FIGARO, (lire en ligne, consulté le )
- (en) « Editorial: Yankee ingenuity at farms in Amherst and Deerfield », sur gazettenet.com,
- « La tondeuse-vélo, ça vous tente ? - Tondeuse-Manuelle.com », Tondeuse-Manuelle.com, (lire en ligne, consulté le )
- (de) « Perfekte Apfelernte 2015 - doch was tun mit dem Fallobest? », sur firmenpresse.de (consulté le ).
- « Aaron Fotheringham: le rider en chaise roulante | Pour ton info | P.T.I. », sur pourton.info (consulté le ).
- « Monocycle de Brescia | Musée d'Art et d'Industrie de Saint-Etienne », sur musee-art-industrie.saint-etienne.fr (consulté le ).
- « Les fauteuils roulants », sur materiel-handisport.e-monsite.com (consulté le ).
- (de) « ROWCYCLE – Das innovative Ruderfahrrad – Rowcycle – The innovative rowing bike » (consulté le ).
- « Chariot Skates », sur chariotskates.com (consulté le )
- Anja François Randriavaniania, « Dreamslide, un savant mélange de glisse et de vélo », Tom's Guide, (lire en ligne, consulté le ).
- (en-US) « Guy Turns His Old Bike Into Pedal-Powered Treehouse Elevator », Bored Panda, (lire en ligne, consulté le ).
- Rincevent, « Le Strandbeest Bike - un vélo avec des pattes qui marche au lieu de rouler », sur 2Tout2Rien, (consulté le ).
- « Inventor creates bizarre unicycle-style to tackle city congestion », sur Mail Online, (consulté le ).
- « Le vélotrain, un TGV à pédales », carfree.fr, (lire en ligne, consulté le )
- « Shweeb : le cyclo-monorail urbain | Vélo et Design », sur velo-design.com (consulté le ).
- LA FRANCE PITTORESQUE, « Vélocipède à neige et à glace. Innovation vélocipédie, bicyclette. Invention, perfectionnements techniques », sur La France pittoresque. Histoire de France, Patrimoine, Tourisme, Gastronomie (consulté le ).
- « Babysnow », BabyRider, (lire en ligne, consulté le )
- Florian Rival, « La Manègerie à vélo - manège à pédale écologique et artisanal », sur lamanegerieavelo.fr (consulté le )
- « Un manège à pédales pour la Fête du Vélo le 4 juin 2016 », sur Brive Ville Cyclable, partager la rue (consulté le )
- « Sorties en famille : quoi de neuf en Ile-de-France et dans l’Oise ? », leparisien.fr, 2018-04-03cest16:05:18+02:00 (lire en ligne, consulté le )
- « L'attraction japonaise à ne jamais faire en cas de vertige ! », sur nipponconnection.fr (consulté le )
- « Un parc d'attractions... à pédales », sur lidd.fr, (consulté le ).
- (en-GB) « Pedal-powered boat, 19th century », sur Science Photo Library (consulté le )
- (en-US) « Pedal The Ocean: One Man, A Pedal-Powered Boat And 2,672 Miles Of Water », sur coolthings.com (consulté le )
- « Bensinger: The man who peddled around the world », sur ESPN.com (consulté le )
- Nationaal Archief, Nationaal Archief / Spaarnestad Photo / Fotograaf onbekend, SFA002005344., (lire en ligne)
- « Le pédalo de luxe "le plus rapide du monde" inventé par un Gardois », Le Midi Libre, (lire en ligne).
- « Des stars pour le 2e Riviera Water Bike Challenge de la princesse Charlène », Nice-Matin, (lire en ligne, consulté le ).
- (en-US) « On an Amphibious Shuttle Bike across the English Channel & the Sydney Harbour Bridge », Kickass Trips, (lire en ligne, consulté le ).
- « Le 5 mai 1929, Aimée Pfanner traverse la Manche en hydrocycle », sur La Voix du Nord (consulté le ).
- « Le très célèbre René SAVARD !! et sa Nautilette ! », sur Les soupapes avignonnaises (consulté le ).
- Dominique Svenson, « MotocyclettesAustral - La Nautilette », sur motocyclettesaustral.es.tl (consulté le )
- Dominique Svenson, « MotocyclettesAustral - Les Antécédents de la Nautilette », sur motocyclettesaustral.es.tl (consulté le )
- « Human Powered | Universal Hovercraft », sur hovercraft.com (consulté le )
- « Remy Bricka », sur Ouest France, .
- Cathy Dogon, « Du gondolys au paddle, ça glisse depuis les années 50 dans le pays catalan », France 3 Occitanie, (lire en ligne, consulté le )
- (en) « Inventor pedals new marine-propulsion concept », sur Stuff (consulté le )
- (en) Hobie Cat Company, « MirageDrive | Hobie », sur hobie.com (consulté le )
- « Harry Bryan Boatbuilding - THISTLE », sur harrybryan.com (consulté le )
- « Ondulo », sur avironplaisirpassion.free.fr.
- (en) Catalyst, (lire en ligne [PDF]), p. 4.
- (en-US) « Human Powered Hydrofoil », sur Human Powered Hydrofoil (consulté le ).
- « Le Jet-Cycle, un nouveau sport nautique qui séduit la SATT Linksium - Université Savoie Mont Blanc - Formation - Recherche », sur univ-smb.fr (consulté le ).
- (en-US) « Wasserläufer - The first human powered hydrofoil ever », sur Human Powered Hydrofoil (consulté le )
- (en-US) Ameya Paleja, « Watercraft speed record the target for French pedal-power champion », sur interestingengineering.com, (consulté le ).
- Gérard Aubry, « Le Nautilus, sous-marin à voile de Robert Fulton en 1799. », gerardaubry-botelliste-bateauxenbouteille-marines-portraits.com (consulté le )
- Isabelle Croizeau, « Courses de sous-marins à pédales », Futura, (lire en ligne, consulté le ).
- Odile faure, « Un sous-marin sous la glace de Piau-Engaly », SudOuest.fr, (lire en ligne, consulté le )
- (en) « The Scubster pedal-powered wet sub (UPDATED) », sur newatlas.com (consulté le )
- « The French yellow submarine: Engineers build James Bond-style scuba sub that runs on pedal power », Mail Online, (lire en ligne, consulté le ).
- « Scubster Nemo », sur scubster.com (consulté le ).
- « Un Français invente un kayak sous-marin », Le Monde (consulté le ).
- « [Mystère #170] Le concours Peugeot d'aviettes, des vélo-avions, en 1912 », La boite verte, (lire en ligne, consulté le ).
- « Le tour de France en aviette? », Auto Reverse, (lire en ligne, consulté le ).
- « Speed with Guy Martin-Series 3: Pedal-Powered Airship - DocuWiki », sur docuwiki.net (consulté le ).
- « Mlle Louise », sur Hangar à dirigeables d'Écausseville (consulté le ).
- « La traversée de la Manche en dirigeable à pédales ajournée en raison du vent », La Dépêche du Midi, (lire en ligne, consulté le )
- « La traversée de la Manche en dirigeable à pédales », Libération, (lire en ligne, consulté le )
- « Le Français Stéphane Rousson échoue à franchir la Manche en ballon à pédales », La Dépêche du Midi, (lire en ligne, consulté le ).
- (en) « Danilewsky Airships », sur welweb.org (consulté le ).
- jean-pierre David, « Voler en Aéroplume à Écausseville », sur Aéroplume (consulté le ).
- « Inmagic DB/Text WebPublisher PRO: 1 records », sur aucklandcity.govt.nz (consulté le )
- (de) « Die Abenteuer von Paul und Hansen », sur Abenteur. Hoepner + Hoepner (consulté le ).
- (en-US) « team », sur vycle (consulté le ).
- Vincent Didier, « Le vélo à direction inversée, c'est mission impossible », vincentdidier, (lire en ligne, consulté le )
- Portail des transports
- Portail du tourisme
- Portail du sport
- Portail de l'écologisme
.jpg.webp)
.jpg.webp)

