Soudage à l'arc submergé
Le soudage à l'arc submergé ((en) Submerged arc welding (SAW)) est un procédé de soudage par fusion, à l'arc électrique, sous laitier, et automatisé. Le plus souvent réalisé à haute puissance, il est principalement utilisé pour le soudage de constructions mécano-soudées en acier avec des cordons de soudure longs et continus ou des tubes aciers de fortes épaisseurs.

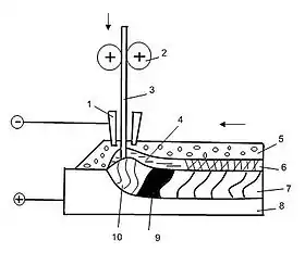
Ce procédé de soudage utilise la chaleur fournie par l'arc électrique pour faire fondre les surfaces à souder et le matériau d'apport dans le bain de fusion. Le bain est protégé de l'oxydation par les gaz dégagés lors de la fusion du flux fourni sous forme de granulés[1]. Le flux est ajouté avant le bain dans le joint préparé. Le flux a une fonction similaire à celui entourant les baguettes utilisé dans le soudage à l'électrode enrobée, ainsi que les mêmes types de composants. Le métal d'apport est généralement délivré par une bobine de fil.
La forme du flux, en poudre ou granulés, impose généralement une position de soudage à plat[1].
Son appellation par l'AWS (AWS A3.0) est SAW[S 1]. La norme ISO (ISO 4063:2023), le définie plutôt comme une sous-catégorie de procédé, ayant pour préfixe de numéro d'identifiant 12[S 2]. Les diverses méthodes dérivées sont :
- ▲
- 12 Soudage à l'arc submergé ou Soudage à l'arc sous flux (en poudre) :
- 121 Soudage à l'arc submergé avec fil-électrode plein
- 122 Soudage à l'arc submergé avec fil-électrode en bande
- 124 Soudage à l'arc submergé avec addition de poudre métallique
- 125 Soudage à l'arc submergé avec fil fourré
- 126 Soudage à l'arc submergé avec électrode en feuillard fourrée
- 12 Soudage à l'arc submergé ou Soudage à l'arc sous flux (en poudre) :
Histoire
Boris S. Robinoff a reçu un brevet en 1929 pour le soudage automatisé utilisant un flux qui libère des gaz de protection lors de sa fusion et réagit métallurgiquement avec le bain de fusion pour former des scories. Les droits sur ce brevet ont été achetés en 1935 par Linde Air Product, qui a renommé la méthode Union-melt. Un an plus tard, la méthode a été utilisée dans la production d'un pétrolier de 153 mètres de long.
Boris S. Robinoff contre en 1929, il a obtenu un brevet [2] pour le soudage automatisé utilisant un flux qui libère des gaz de protectrion pendant la fusion et réagit métallurgiquement avec le bain de fusion pour former des scories. En 1932, Linde Air Product (fusionné en 2018 au sein de Air liquide) rachète les droits de ce brevet, puis rebaptisa la méthode Union-melt[3],[4]. En 1935, il acquière son appellation américaine SAW. Puis, un an plus tard, la méthode a été utilisée dans la production d'un pétrolier d'une longueur 153 m [5],[4].
Caractéristiques


L'automatisation du processus est assurée par des équipements permettant le soudage sans l'intervention d'un soudeur mais un opérateur reste souvent nécessaire.
En plus de la fonction de protection, le flux contient des éléments chimiques qui seront alliées au cordon final et participeront aux propriétés souhaitées. Les capacités de raffinage du flux parviendront à éliminer des éléments indésirables de la soudure, notamment le soufre. Le flux fondu crée un laitier (ou scorie) qui adhère étroitement à la soudure lors du refroidissement. L'excédent de flux qui n'est pas entré dans le processus de fusion est aspiré et recyclé pour un usage ultérieur[6],[7].
L'équipement de soudage est placé soit sur des chariots qui se déplacent le long d'une piste définie, soit la soudure est amenée vers un équipement stationnaire à l'aide d'un positionneur. L'équipement de soudage se compose d'un générateur de courant, d'une unité de contrôle, d'une tête de soudage composée elle-même d'une trémie pour délivrer le flux granulé, d'un aspirateur industriel pour retirer l'excès de flux, de dispositifs de guidage du métal d'apport[8]. Conduire le chariot, alimenter en flux et métal d'apport supplémentaire est effectué automatiquement par l’unité de contrôle sous la supervision de l’opérateur soudeur. Si l'appareil est stationnaire et la pièce à souder circulaire (cuve ou tube), la mise en rotation est assuré par des vireurs mettant en rotation ces pièces. Les tubes torsadés combineront mouvement de rotation et avancement du tube[7],[9]. Le mode semi-automatique (semi-automatique) désigne uniquement la mécanisation du dévidage du fil et le guidage de la torche est assuré manuellement par le soudeur, ce mode est rarement utilisé aujourd'hui[10],[11].
Technologie
Parce que l'appareil fonctionne de manière autonome, sans présence d'un soudeur ou opérateur dans la zone de soudage, il est possible de souder avec des courants plus élevés jusqu'à 2 000 A[12] et une vitesse élevée (allant jusqu'à 120 mètres par heure), avec une chaleur fournie plus élevée, ce qui autrement mettrait en danger le soudeur. Les performances de soudage sont donc plus élevées. Les inconvénients de cette méthode de soudage sont l'absence d'inspection visuelle du bain de fusion, car il est entièrement recouvert par le flux, et l'exécution uniquement des soudures pouvant être approchées par le haut (position de soudure à plat : PA) ou obliquement par le haut avec une inclinaison maximale d'environ 7°. Cette méthode n'est souvent pas possible sans l'utilisation de positionneurs ou d'autres dispositifs spéciaux garantissant la position requise pour le soudage. Un traitement exigeant des surfaces soudées et une protection envers (racine du cordon) est également requis[13].
Une autre méthode peut être utilisée pour la protection envers, par exemple une première passe au TIG, ou des tampons sont utilisés sous la soudure, qui garantissent la forme de la racine du cordon. Des contre-formes en acier (risque de fusion), en cuivre ou en céramique sont utilisées.[14].
Pour augmenter les performances, on utilise des brûleurs dits (cs)tandemových (trad. tandem) (c'est-à-dire deux torches en rangée) ou des torches tandem avec deux fils de soudure, etc[7],[15]. L'avantage économique de cette méthode augmente avec la longueur des soudures réalisées [16].
Consommables
Métaux d'apport
En tant que matériau supplémentaire pour le soudage, les fils sont produits par étirage à froid diamètres de 2 à 8 mm[17]. Des rubans ou des fils fourrés peuvent être utilisés pour ce procédé. Le matériau supplémentaire doit avoir une teneur en phosphore limitée à 0,15 % (fraction massique). La combinaison du type de fil et du flux correspondant est généralement déterminée par le fabricant des consommables[18].
Flux

Comme pour la méthode de soudage à l'arc manuel, il est nécessaire de respecter les réglementations technologiques relatives au stockage et à la manipulation des flux pour qu’ils restent le plus sec possible[19],[20]. Une humidité accrue entraîne l'absorption d'hydrogène et son transfert vers le métal fondu, où il peut provoquer ce qu'on appelle une fragilisation par l'hydrogène[21].
Un avantage pour ce procédé est de pouvoir recycler les scories (laitier) obtenues, en les broyant et reconditionnant sous forme de poudre ou de granulés, puis les réutiliser pour le même usage[22].
Équipement
Sources de soudage

Le courant continu et le courant alternatif peuvent être utilisés pour le soudage à l’arc submergé[23]. Les postes à souder peuvent être des dynamos rotatives pouvant être couplées ou des redresseurs avec rendement plus élevé – jusqu'à 76 %, ou des transformateurs pour le soudage en courant alternatif[24].
Les Transformateurs sont avantageusement utilisés lorsqu'une forte pénétration est requise pour une soudure bout à bout (avec une inclinaison maximale de 2°). L'inconvénient est le risque accru de résidus de fil non fondu dans le bain de soudure, provoqué par un changement sinusoïdal de l'amplitude du courant de soudage lors du passage par le niveau zéro. On résout ce problème par modulation rectangulaire du courant de soudage. Le courant alternatif minimise également ce qu'on appelle le soufflage d'arc[25].
Les sources de soudage submergées doivent avoir une valeur de facteur de marche de 100 %. La caractéristique statique peut être à la fois raide et et plate. Avec un caractéristique raide, les changements de tension induits par la longueur variable de l'arc électrique sont enregistrés par un dispositif électronique qui augmentera ou diminuera automatiquement la vitesse d'alimentation du fil[23],[26]. Avec une caractéristique plate, il y a ce qu'on appelle l'autorégulation, lorsque les fluctuations de la longueur de l'arc entraînent des fluctuations de tension, ce qui provoque une modification de la valeur du courant de soudage ou de la vitesse d'alimentation du fil[27],[25].
Chariot
Les chariots, sont des appareils qui permettent le déplacement de l'ensemble de l'appareil sur un chemin sélectionné. Le chariot est généralement automoteur et tous les équipements nécessaires y sont placés, à savoir une source de soudage, un réservoir de matériau additif, un réservoir de flux, un aspirateur de flux et une unité de commande[8],[11].
Positionneur

Les positionneurs sont des dispositifs mécaniques qui maintiennent la bonne position de la tête de soudage par rapport à la pièce à souder pendant l'opération. Lorsque la tête de soudage est stationnaire, c'est le positionneur qui déplace la soudure, par exemple lors du soudage de tuyaux[28].
Tête de soudage
La tête de soudage est un appareil spécialement conçu pour ce procédé. Elle est composé d'une torche de soudage, d'une trémie et d'un extracteur de flux. Le fil ou le ruban de soudage passe à travers la torche de soudage et est connecté au circuit électrique via les surfaces de contact[8]. Deux fils peuvent également passer à travers la torche de soudage, ce qu'on appelle le tandem[29]. Le flux granulé est versé depuis la trémie dans une pente devant la torche de soudage (c'est-à-dire dans le sens du processus de soudage). L'excès de flux est aspiré avec un aspirateur industriel situé derrière la torche de soudage.
Sécurité
Comparée à d’autres méthodes de soudage à l’arc, la méthode de soudage à l’arc submergé présente moins de risques pour la santé. Le flux granulé recouvrant entièrement l’arc électrique, aucun rayonnement électromagnétique n’est émis (spectre ultraviolet), et donc une protection oculaire directe n'est pas nécessaire à la fois pour le soudeur ou l'opérateur, ainsi que pour les personnes situées dans les alentours. Les projections de métal en fusion sont également éliminées[30],[1]. Cependant, comme tout type de soudage à l'arc électrique, il existe un risque d'électrocution. Et plus généralement, pour tout les procédés par fusion, il existe un risque accru de brûlures en touchant des parties non refroidies des soudures ou des scories. Lors du soudage sous flux, une grande quantité de métal en fusion est produite, qui peut s'écouler à travers l'espace de soudure et provoquer des brûlures[31]. A puissance de soudage élevée, il y a aussi le dégagement de gaz et de vapeurs de métaux dangereux, voire toxiques, à une échelle plus grande que, par exemple, méthodes de soudage à l'arc manuel. Il est donc nécessaire d'assurer l'extraction de ces gaz et vapeurs et de se conformer aux règlementations (droit du travail) en vigueur.
Qualité
Le procédé est principalement utilisé pour des performances de soudage élevées, mais il est nécessaire de procéder de manière à réduire la Zone affectée thermiquement par la chaleur introduite. Avec des aciers ferritiques, il peut apparaître des phénomènes de trempes dans la ZAT, augmentant la dureté et la résistance, mais réduisant considérablement la ténacité et la ductilité[21].
Les méthodes de soudage à l'arc peuvent non seulement être très bien contrôlées, mais la procédure peut être répétée sans aucun problème grâce au même réglage des paramètres des instruments. Ceci s'applique également au soudage à l'arc submergé, dans lequel le facteur humain est minimisé. Ces paramètres comprennent notamment l'intensité du courant et de la tension de soudage, la vitesse du processus, le type de flux, le type de matériau d'apport utilisé, le préchauffage ou le réchauffage. Le principal risque est celui des flux qui peuvent prendre l'humidité. Avec flux humides, l'hydrogène pénètre dans le bain de fusion, ce qui provoque ce que l'on appelle une fissuration à froid ou une fragilisation par l'hydrogène. Dans le soudage industriel, la gestion de la qualité est généralement nécessaire, pour atteindre le niveau de qualité requis[31],[32],[33].
Notes et références
Notes
- (cz) Cet article est partiellement ou en totalité issu de l’article de Wikipédia en tchèque intitulé « Svařování pod tavidlem » (voir la liste des auteurs).
Normes et standards
- AWS, « AWS A3.0M/A3.0:2020 » [archive]
, sur Normadoc, (consulté le ) - ISO, « ISO 4063:2023 : Soudage, brasage et coupage », Nomenclature et numérotation des procédés [archive]
, sur Organisation internationale de normalisation, (consulté le )
Références
- Kedzi2019, p. 20-21.
- (en) National Tube Company. Method of welding. Inventeurs : Boris S ROBINOFF, Sumner E PAINE, Wrignol E QUILLEN. USA, United States Patent Office. Dossier de brevet 1782316. 1930-11-18. [cit. 2011-04-24].
- (en)National Tube Company. Method of welding. Inventeurs : Boris S ROBINOFF, Sumner E PAINE, Wrignol E QUILLEN. USA, United States Patent Office. Dossier de brevet 1782316. 1930-11-18.
- (en) weldinghistory.org, « A History of Welding - Timeline - 1900-1950 » [archive du ], sur A History of Welding (consulté le )
- (cs) CZ WELD s.r.o., « CWS ANB: Historie svařování v českých zemích. » [« Histoire du soudage en République tchèque | Développement historique de l’assemblage par fusion des métaux »], sur www.cws-anb.cz (consulté le )
- Ambrož et al. 2001, p. 210.
- « Svařování pod tavidlem (SAW) » [« Soudage submergé (SAW) »], sur www.svarbazar.cz (consulté le )
- Ambrož et al. 2001, p. 212.
- « CWS ANB: Využití automatizovaných svařovacích procesů při výrobě energetických zařízení » [« L'utilisation de procédés de soudage automatisés dans la production d'équipements énergétiques »], sur www.cws-anb.cz (consulté le )
- Ambrož et al. 2001, p. 211.
- Miller Saw 1982, p. 6.
- Ambrož et al. 2001, p. 209.
- Ambrož et al. 2001, p. 209, 216.
- Ambrož et al. 2001, p. 218-220.
- Ambrož et al. 2001, p. 228-229.
- Barták et al. 2000, p. 175.
- Ambrož et al. 2001, p. 208.
- Ambrož et al. 2001, p. 226.
- Ambrož et al. 2001, p. 2008.
- Ambrož et al. 2001, p. 202.
- Foldyna et al. 2000, p. 105.
- Kedzi2019, p. 21.
- Ambrož et al. 2001, p. 215.
- Ambrož et al. 2001, p. 216.
- Miller Saw 1982, p. 2.
- Miller Saw 1982, p. 1.
- Ambrož et al. 2001, p. 225.
- Ambrož et al. 2001, p. 213.
- Ambrož et al. 2001, p. 228.
- Ambrož et al. 2001, p. 231.
- Ambrož et al. 2001, p. 230-231.
- Ambrož et al. 2001, p. 201-202.
- Barták et al. 2000, p. 14-19.
Bibliographie
- (cs) Oldrich Ambrož, Bohumil Kandus et Jaroslav Kubíček, Technologie svařování a zařízení [« Technologie et équipement de soudage »], Ostrava, Société tchèque de soudage ANB, ZEROSS, , 395 p. (ISBN 80-85771-81-0)
- (en) Submerged arc welding [« Soudage à l'arc submergé »], Miller Électric MFG.CO., 1982, rév. 1985-11, 30 p., PDF (lire en ligne)
- (cs) Jiří BARTÁK, Vladimir BOUBÉNIK, Jan, Burkovič, Jan BUREŠ, Bohumil MÍŠEK et Heinz NEUMANN, Výroba a aplikované inženýrství ve svařování [« Fabrication et ingénierie appliquée au soudage »], Ostrava, Česká svářečská společnost ANB, ZEROSS, , 213 p. (ISBN 80-85771-72-1, présentation en ligne)
- (cs) Václav Foldyna, Karel Hennhofer, Věra Olšarová, Hlavatý Ivo, Koukal Jaroslav, Kristofory František, Ochodek Václav, Pilous Václav, Purmenský Jaroslav, Schwarz Drahomír et Veselko Július, Materiály a jejich svařitelnost : učební texty pro kurzy svářečských inženýrů a technologů [« Matériaux et leur soudabilité | manuel pour les cours d'ingénieurs et de technologues en soudage »], Ostrava, Česká svářečská společnost ANB, ZEROSS, , 1re éd. (1re éd. 2000), 216 p. (ISBN 80-85771-85-3, présentation en ligne)
- (cs) Ivo Hlavatý, vařování automatem pod tavidlem (121) [« Soudage automatique immergé (121) »], Université technique d'Ostrava, , PDF (lire en ligne) - présentation PowerPoint du procédé SAW par le Professeur Ivo Hlavatý
- (en) Okah Perez Kedzi (dir.), Cost Evaluation and Life Cycle Assessment of Thick Plates Using SAW and GMAW [« Évaluation des coûts et analyse du cycle de vie des plaques épaisses à l'aide de SAW et GMAW »] (thèse de master en Génie mécanique), Lahti, Lappeenranta – Lahti university of technology, , 68 p. (lire en ligne)
Annexes
Articles connexes
Liens externes
- (en) [vidéo] Fabrication : Arc Submergé (c'est-à-dire Production : soudage sous flux) sur YouTube – démonstration de soudage sous flux
- (en) [vidéo] Soudage à l'arc submergé (soudage SAW) sur YouTube – démonstration de soudage à l'arc submergé
- Portail du génie mécanique
- Portail de la production industrielle
- Portail du travail et des métiers
- Portail de la métallurgie