Mandrin (mécanique)
Le mandrin — ou porte-foret — est une pièce mécanique fixée au bout de l'arbre d'une machine rotative ; il permet la fixation rapide d'un outil (comme le mandrin de perçage) ou d'une pièce (comme le mandrin de tour).


Par extension, le mandrin désigne aussi une pièce en rotation sur laquelle on enroule différents produits (un ruban de verre par exemple, dans le cas de la fabrication du verre étiré).
Différents outils

Un mandrin peut serrer un foret, une fraise qui vont enlever de la matière dans une pièce à usiner, ou un outil pour le serrage de vis ou écrou : empreinte ou douille dans le cas d'une visseuse.
Mandrin à mâchoires
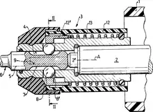
Le premier type de mandrin est un système universel permettant la fixation d'outils avec une queue de forme cylindrique.
- Un montage de deux ou trois mâchoires séparées par des ressorts, coulissant à l'intérieur d'un cône monté sur une vis, lui permet de s'adapter au diamètre de la queue de l'outil.
- Une clef formée d'un pignon conique, terminé par une courte pige, permet de bloquer énergiquement le système, mais de nombreux outils électroportatifs ont un mandrin moleté à serrage manuel.
- À part quelques ajouts : autoblocage et déblocage rapide, limiteur de couple débrayage et réglable, le mandrin universel n'a guère évolué et il est toujours très utilisé en particulier sur les machines électroportatives.
- Ce mécanisme présente toutefois quelques inconvénients : il ne permet pas une fixation très résistante ni en rotation, ni en translation, tout en ne laissant aucune liberté à l'outil. Il arrive que l'outil se bloque tandis que le mandrin tourne, l'un endommageant l'autre.
Special Direct System (SDS)

Ce type de mandrin est utilisé sur les perforateurs. Les outils sont maintenus par deux billes ou trois segments prenant position dans des gorges de l'outil. Les différentes versions sont SDS Plus, SDS Top (rare) et SDS Max. Le système SDS Plus est utilisé sur les perforateurs les moins puissants et SDS Max sur les plus puissants et lourds[1],[2].
Mandrins spécifiques
Les constructeurs de machines-outils ont mis au point d'autres systèmes de fixation d'outils rapide, mieux adaptées à certaines situations d'usinage.
- La queue de l'outil est soit toujours cylindrique, soit en forme de polygone, mais comporte presque toujours des encoches. Dans chacune de ses mortaises vient se loger une clavette mobile située dans le corps du mandrin. Ces clavettes sortent et se rétractent sur une simple rotation ou déplacement d'une bague.
- Ces systèmes de clavettes permettent de bloquer l'outil dans une direction tout en lui laissant une certaine liberté dans une autre. De plus aucune clé n'est nécessaire pour le montage et le démontage des outils.
Emballage
Quand il signifie accessoire pour enroulement, le mandrin peut être un tube pour enrouler des rouleaux de papier, de feuille plastique, de tissu, etc. Le mandrin est le plus souvent en carton, réalisé par l'enroulement successif de spirales de papier croisées et collées. Parfois il est en plastique ou métallique et réutilisable. Parmi les applications domestiques, on trouve les papiers d'essuyage enroulés sur un mandrin jetable, de même le bobineau de film étirable...
Notes et références
- « SDS-plus tool insertion system », sur Encyclopedia of technical terms (A-Z) (version du sur Internet Archive)
- « SDS-max », sur Encyclopedia of technical terms (A-Z) (version du sur Internet Archive)
Voir aussi
- Usinage
- Tour (machine-outil)
- Mandrin expansible
- Pince (pince tirée ou pince poussée)
- Portail de la production industrielle