Algorithme de Jaumain
L'algorithme de Jaumain (ou algorithme des échéances moyennes) a pour but de calculer le taux de rentabilité interne (TRI), c’est-à-dire le taux d'actualisation qui annule la valeur actuelle nette (VAN) d'une série de flux financiers. Dans le cas particulier où les échéances sont équidistantes, le problème n’est pas susceptible d’une solution algébrique dès que le nombre de ces échéances est supérieur à 5, c’est-à-dire dès que le degré de l’équation est supérieur à 4. C’est donc à des méthodes d’itération qu’il convient de faire appel, comme la méthode de Newton-Raphson. La méthode présentée ici, conçue en 1979 par Christian Jaumain, est a priori spécifique aux opérations financières ; elle s’applique à toute série de flux, quels qu’en soient les montants, le nombre et l’époque des échéances.
Échéance moyenne
    
On note (F , t) le flux financier F échéant à la date t. On appelle échéance moyenne des flux (F1 , t1), ..., (Fn , tn) avec Fk ≥ 0 la date τ telle que :
- où
 
La valeur τ est par exemple la date à laquelle un débiteur pourrait s’acquitter des dettes F1, ..., Fn échéant respectivement aux dates t1, ..., tn par un paiement unique F égal à la somme arithmétique des dettes.
En égalant les valeurs actuelles, on obtient :
d'où :
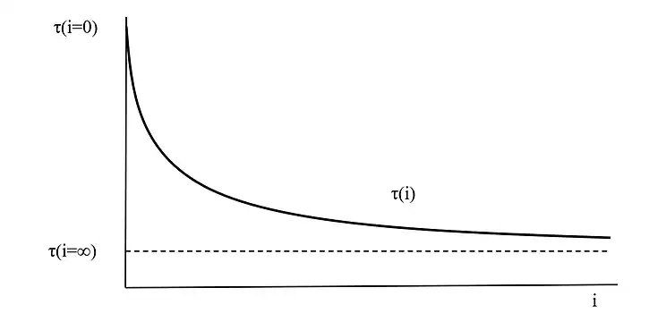
L’échéance moyenne dépend du taux d’actualisation adopté pour le calcul des valeurs actuelles. De manière plus précise, on note τ(i) l’échéance moyenne au taux d’actualisation i des flux (F1, t1), ..., (Fn, tn).
Étude de l’échéance moyenne en fonction du taux d’actualisation
    
Pour i=0, c’est-à-dire pour v = 1, la fonction τ(i) prend la forme indéterminée 0/0. En appliquant le théorème de l'Hospital, on obtient la vraie valeur :
La valeur τ(i = 0) est donc l’échéance moyenne à intérêt simple des flux (F1 , t1), ..., (Fn , tn). C’est le barycentre des points t1, ... tn de masse respective F1, …, Fn c’est-à-dire la moyenne pondérée des échéances des flux.
Ce résultat fournit une interprétation financière remarquable du concept mathématique de vraie valeur.
Si i=0, l’égalité est vérifiée quel que soit τ : l’emprunteur peut s’acquitter à n’importe quelle date des dettes F1, ..., Fn par le paiement unique F = F1 + ... + Fn. Dans ce cas on peut donc, du point de vue financier, assigner à τ n’importe quelle valeur. La vraie valeur est, parmi cette infinité de valeurs qui toutes conviennent financièrement, la seule qui rende la fonction τ(i) continue quand i=0.
On démontre par ailleurs que τ est compris entre le plus petit et le plus grand des tk et que, lorsque i→∞, τ tend vers le plus petit des tk.
Pour i = ∞, c’est-à-dire pour v=0, la fonction τ(i) prend la forme indéterminée ∞/∞. En appliquant le théorème de l'Hospital, on obtient la vraie valeur :
On démontre enfin que la dérivée de τ(v) par rapport à v est nulle pour v=1 c’est-à-dire pour i=0 et est positive pour v<1, de sorte que τ est une fonction croissante de v<1 donc décroissante de i>0.
La dérivée de τ(v) vaut :
est du signe de
qui est nul pour v = 1. La dérivée de z(v) est du signe de
Or, on démontre que :
Si , on voit que z’(v) est du signe de :
qui est négatif puisque les Fk sont positifs. z(v) est donc une fonction décroissante de v. Or z(1) = 0. Par conséquent z(v) > 0 pour v < 1.
La dérivée de τ(v) par rapport à v est donc bien positive pour v < 1, c'est-à-dire pour i > 0, de sorte que τ est une fonction croissante de v < 1 donc décroissante de i > 0.

Algorithme de Jaumain (ou algorithme des échéances moyennes)
    
Cet algorithme a été proposé par Christian Jaumain[1],[2],[3],[4],[5],[6]. La méthode a été reprise dans H.U. Gerber[7].
Soit les deux séries de flux financiers (C1, r1) + ... + (Cn, rn) et (D1, s1) + ...+ (Dn, sn), telles que :
Cette relation signifie qu’il revient au même de posséder – ou d’être redevable – des capitaux C1, …, Cn aux dates respectives r1, ..., rn et de posséder – ou d’être redevable – des capitaux D1, …, Dn aux dates respectives s1, ..., sn.
Ainsi par exemple, si i est l’intérêt annuel payable à terme échu d’un capital unitaire :
- (1 ; 0) = (i ; 1) + (i ; 2) + … + (i ; n–1) + (1+i ; n)
 
Sans nuire à la généralité on peut, quel que soit k, supposer :
- les Ck et Dk sont positifs, quitte à transposer des termes de l’égalité d’un membre dans l’autre.
 - le nombre des Ck égal à celui des Dk, certains d’entre eux pouvant être nuls.
 
L’équilibre financier entre les deux séries (C1 , r1) + ... + (Cn , rn) et (D1 , s1) + ... + (Dn , sn) est réalisé pour zéro, un ou plusieurs taux d’actualisation particuliers qui sont les TRI.
On démontre qu’il existe un TRI unique positif si :
- il n’y a qu’un seul changement de signe dans la séquence des flux (TRI unique) ;
 - la somme arithmétique des flux précédant le changement de signe est inférieure en valeur absolue à la somme arithmétique des flux suivants (TRI positif).
 
La méthode qui suit permet de calculer le TRI s’il est unique, ou un des TRI s’ils sont multiples.
Au taux d’actualisation i=0, soit respectivement ρ0 et σ0 l’échéance moyenne des flux (C1, r1), ..., (Cn, rn) et (D1, s1), ..., (Dn, sn) :
L’équation à résoudre devient : (C , ρ0) = (D , σ0).
Le taux d’actualisation résultant de cette équation est :
Au taux d’actualisation i=i0, soit respectivement ρ1 et σ1 l’échéance moyenne des flux (C1 , r1), ..., (Cn , rn) et (D1 , s1), ..., (Dn , sn) :
L’équation à résoudre devient : (C , ρ1) = (D , σ1).
Le taux d’actualisation résultant de cette équation est :
et ainsi de suite. Si la suite {i0, i1, … } converge, alors la limite est solution de l’équation à résoudre, donc un TRI.
Remarque. Le premier itéré de l’algorithme de Jaumain fournit une valeur de départ qui peut s’avérer très utile aux autres méthodes.
Démonstration de la convergence
    
La démonstration est due à F. De Vylder (1979)
Soit à résoudre l’équation :
où v est l’inconnue. On la remplace par le système :
- (A)
 - (B)
 - (C)
 
où ρ et σ sont des inconnues auxiliaires, et où on a posé Σk Ck = C et Σk Dk = D.
Procédant par approximations successives, supposons qu’on ait déterminé les approximations ρh, σh et vh de ρ, σ et v respectivement. Les approximations ρh+1, σh+1 et vh+1 résultent alors des équations suivantes, par définition même de la méthode :
pour ρh+1 :
- (A')
 
pour σh+1 :
- (B')
 
puis pour vh+1 :
- (C')
 
Supposons maintenant que ρh → ρ, σh → σ et vh → v, où ρ, σ et v sont des quantités finies. Alors ρ, σ et v sont bien solutions de (A), (B) et (C). Car avec les hypothèses, il suffit de faire h → ∞ dans (A’), (B’) et (C’) pour obtenir (A), (B) et (C).
Exemple
    
On reprend l'exemple d'application de l'algorithme de Newton-Raphson :
| Date k | 0 | 1 | 2 | 3 | 4 | 
| Flux Fk | –1 | –5 | –4,5 | 5,5 | 7 | 
On a : C = 1 + 5 + 4,5 = 10,5 et D = 5,5 + 7 = 12,5
Le calcul du premier itéré donne :
d’où : i0 = (12,5/10,5)1/(3,560000-1,333333) – 1 = 8,144966%
Calcul du 2e itéré :
- ρ1 = 1,317059
 - σ1 = 3,550325
 
d’où : i1 = (12,5/10,5)1/(3,550325-1,317059) – 1 = 8,111995%
et ainsi de suite. Le tableau suivant résume le calcul des itérés successifs :
| k | ρk | σk | ik | 
| 0 | 1,333333 | 3,560000 | 8,144966% | 
| 1 | 1,317059 | 3,550325 | 8,119945% | 
| 2 | 1,317108 | 3,550354 | 8,120020% | 
| 3 | 1,317107 | 3,550354 | 8,120020% | 
L’algorithme converge vers le TRI de 8,12002%, atteint dès la 3e ligne.
- Remarques
 
- Les suites des échéances moyennes convergent également. L’itération peut être arrêtée lorsque l’écart entre deux échéances moyennes successives est suffisamment petite, par exemple 1/1000e d’année.
 - Le premier itéré de l’algorithme des échéances moyennes fournit une excellente valeur de départ pour les autres méthodes. Ainsi, en adoptant i0 = 8,144966% dans l’algorithme de Newton-Raphson, on obtient le tableau suivant :
 
| k | ik | vk | f(vk) | f ’(vk) | 
| 0 | 8,144966% | 0,924685 | -0,004893 | 22,924065 | 
| 1 | 8,120009% | 0,924898 | 0,000002 | 22,943992 | 
| 2 | 8,120020% | 0,924898 | 0,000000 | 22,943983 | 
Le TRI de 8,12002% est atteint dès la 3e ligne. 
Exemple 2
| Date | 0 | 1 | 2 | 3 | 4 | 5 | 6 | 7 | 8 | 9 | 10 | 
| Flux | -99 | 7 | 7 | 7 | 7 | 7 | 25 | 25 | 25 | 25 | 25 | 
Le TRI est unique. On obtient le tableau des itérés successifs suivant : 
| k | ρk | σk | ik | 
| 0 | 0,000000 | 6,906250 | 7,198286% | 
| 1 | 0,000000 | 6,678749 | 7,452405% | 
| 2 | 0,000000 | 6,670674 | 7,461755% | 
| 3 | 0,000000 | 6,670377 | 7,462100% | 
| 4 | 0,000000 | 6,670366 | 7,462112% | 
| 5 | 0,000000 | 6,670366 | 7,462113% | 
Exemple 3
| Date | 0 | 1 | 3/2 | 2 | 40/12 | 5 | 25/3 | 
| Flux | -50 | -75 | -150 | 50 | 200 | -300 | 500 | 
A priori, il y a 3 ou 1 TRI. Un rapide examen graphique permet de conclure qu’il n’existe qu’un seul TRI. On obtient le tableau des itérés successifs suivant :  
| k | ρk | σk | ik | 
| 0 | 3,130435 | 6,577778 | 8,012283% | 
| 1 | 2,976685 | 6,325952 | 8,256338% | 
| 2 | 2,972167 | 6,318298 | 8,264388% | 
| 3 | 2,972018 | 6,318045 | 8,264654% | 
| 4 | 2,972013 | 6,318037 | 8,264662% | 
| 5 | 2,972013 | 6,318037 | 8,264663% | 
Le TRI dans la réglementation relative au crédit à la consommation
    
La réglementation européenne (Directive européenne du 22 février 1990) prévoit l’introduction d’un taux annualisé effectif global (TAEG) qui doit, en principe, servir d’instrument de comparaison pour toutes les formes de crédit à la consommation dans tous les Etats membres. Cette directive a été transposée dans la législation belge (loi du 6 juillet 1992, arrêté royal du 4 août 1992, M.B. 08.09.1992). En annexe à l’arrêté royal précité figure une méthode de calcul reprenant, sans en citer la source, l’algorithme des échéances moyennes tel que présenté ci-avant. Un communiqué du Moniteur Belge du 28.09.1993 précise que « La méthode de calcul donnée à l’annexe 1 de l’arrêté royal est due au professeur Christian Jaumain, de l’Université catholique de Louvain. Elle est décrite dans le Bulletin de l’Association des Actuaires suisses, Vol.79 – n°2, 1979 ».
Le TRI n’est pas nécessairement un taux de rendement
    
Contrairement à ce que pourrait laisser supposer son appellation, le TRI ne reflète pas nécessairement le rendement effectif. L’appellation « taux actuariel » est sans doute préférable, car elle rend mieux compte du caractère ambigu de ce taux.
Annexes
    
    Articles connexes
    
Références
    
- (en) H.U. Gerber, « Gerber H.U., Some moment inequalities and their applications, Discussion by H.J. Boom, Graham Lord, E.S. Seah, M.D. Evans, Ho Kuenng, E.S.W. Shiu, Transactions of the Society of Actuaries (USA), Vol. XXXVIII (1986), 75-104 »,
 - De Vylder F., « Méthode itérative multiplicative de calcul d’une racine réelle, en particulier d’un taux d’intérêt », Bulletin de l’Institut des Actuaires Français, numéro 316 (1981), p. 109
 - Ars P. & Paris J., « Une amélioration de l’algorithme des échéances moyennes de Jaumain à partir du théorème d’immunisation de Fischer-Weil », Belgian Actuarial Bulletin, Volume 2, december 2002.
 - Justens Daniel & Rosoux Jacqueline, Introduction à la mathématique financière, Bruxelles, De Boeck, , 442 p. (ISBN 9782804120962)
 - Devolder Pierre, Fox Mathilde, Vaguener Francis, Mathématiques financières, France, Pearson France, (ISBN 978-2326001763)
 - Calcul du taux d’intérêt réel d’une opération financière, Bulletin de l’Association des Actuaires Suisses, 1979, 137-46
 - H.U. Gerber, Life Insurance Mathematics, Springer-Verlag, 1990
 
- Portail des mathématiques